优米体育官网下载安装手机版详细介绍色漆和漆耐中性盐雾性能的测定

色漆和漆耐中性盐雾性能的测定
 
 
1主题内容与适用范围
  本标准规定了测定涂层耐中性盐雾性能的方法。
  本标准所规定的方法可以作为色擦或涂料体系质量的检测手段。
2 引用标准
  GB 1266 氧化纳
  GB 1764 漆膜厚度测定法
  GB 1765 测定耐温热、耐盐雾、耐候性(人工加速)的潦膜制备法
  GB 3186 涂料产品的取样
  GB 6682 实验室用水规格
  GB 9271 色漆和清漆标准试板
  GB 9278 涂料试样的状态调节和试验的温湿度
  GB 9286 色棒和清擦漆膜划格试验
3 试验溶液
3. 1 试验榕液是将符合GB 1266 化学纯的氯化铀溶解于符合GB 6682 三级水中配制,其浓度为50:!:
10 g/L ll 。
3. 2 用pH 计(精度0.1 pH) 在25 0C 时测定试验溶液(3. 1)的pH 值应为6. 5~7. 2 。超出范围时,可加入分析纯盐酸或氢氧化纳溶液进行调整。经过pH 计测定校正的精密试纸可用于日常检验。
3.3 试验溶液注入设备的贮罐前应予过滤,以防止固体物质堵塞喷嘴。
4设备
    
    设备为盐雾试验箱,应包括如下部件。
4.1 喷雾室:由耐盐水榕液腐蚀的材料制成或衬里,顶盖或盖子应向上倾斜,与水平面的夹角应大于
25 0 ,使凝集在盖子上的液滴不致滴落在试板上。
4. 1. 1 喷雾室的大小和形状应保证在箱内所收集到溶液的量达到8.2 规定的范围内。
为保证喷雾的均匀性,喷雾室的容积不得小于0.4 m 3 0 对于容积超过2 旷的喷雾室,为便于操作在设计和构造上应给予仔细的考虑,应考虑的因素列于附录A 中。
 
   4.1.2 恒温控制元件z 设在喷雾室内,离箱壁至少100 mm 的地方,或设在室内的水夹套内,并能使喷雾室内各部位达到规定的温度。
     温度计设在室内离箱壁大于100 mm 的地方,并能在箱外读数。
4.1.3 喷嘴:由耐盐水腐蚀的惰性材料制造,如玻璃或塑料。采用可调节的档板防止盐雾直接冲击试
板,以有助于室内喷雾分布均匀。
4. 1. 4 盐雾收集器:由玻璃或其他化学惰性材料制成飞收集器至少有两个ZU 置于喷雾室内放置试板的地方。一个置于靠近喷雾的入口,一个置于远离喷雾入口处,其位置要求收集到的只是盐雾,而不是从试样或室内其他部件滴下的液体。
注:1)玻璃漏斗的管子能插到带刻度的量筒中。漏斗的直径为100 mm ,其收集面积为80 cm 2 。
2) 如果使用两个或两个以上的喷嘴,则收集器的数量至少是喷嘴数量的两倍。
4.1.5 试验溶液贮槽:由耐盐水溶液腐蚀的材料制成,并设有保持槽内恒定水位高度的装置。
4.2 洁净空气供给器:供给喷雾的压缩空气应通过滤清器,除去油分和固体微粒。空气在进入喷嘴之前应通过装有符合GB 6682 水的,其温度比喷雾室内高几度的饱和罐,使空气增湿,防止试验溶液的气化。水的温度取决于所用的空气压力和喷嘴的类型,调节空气压力使箱内收集速度和收集浓度保持在规
定的范围内。(见8.2)
喷雾压力保持在70~170 kPa 。
注:为防止喷雾室内形成压力,通常是把装置的空气排放到实验室外大气中。
4. 3 试验溶液贮罐:由耐盐水溶液的材料制成。
5 试样
按GB 3186 规定,抽取试样。
      
     6 试验样板
6. 1 材料和尺寸
除另有规定或有关方面协定,试板应使用GB 9271 要求的磨光铜板,其尺寸为100 mmX150 mm ,
如不需划痕,也可使用70 mmX150 mm 的试板II 。
6.2 制板和涂复
除另有规定,应按GB 1765 的规定制备试板。并按GB 1764 非破坏性的方法测定干膜厚度。
试板的背面和周边用被试产品或涂层体系涂覆。如果不采用被试产品来涂覆时,则需用比被试产品
更耐腐蚀的产品来涂覆。
6.3 干燥和状态调节
涂覆试板按标准规定的时间和条件干燥。除另有规定,应在温度23 士2"C 和相对湿度(50 土5)% 、具
有空气循环、不受阳光直接曝晒的条件下,状态调节至少16 h 以上,然后尽快投入试验。
6.4 划痕的制备
如需划痕,划痕应划透涂层至底材。并使划痕离试板的任一边缘大于20 mm 。除另有规定,应使用
GB 9286 推荐的单刃切割器。
7 试板的曝露方法
7.1 不应将试板放置在雾粒从喷嘴出来的直线轨迹上,可使用挡板防止喷雾直接冲击试板。
采用说明2
1] ISO 规定为150 mmX 100 mm 。
   
    7.2 试板在箱内的曝露角度是很重要的,每块试板的被试表面朝上,与垂线的夹角是20。土50 。
注z 当有不同形状的涂漆部件试验时,曝露方法由有关方面商定。如进行这种试验时,特别重要的是应将这些不同
形状的部件按其使用的正常状态来放置。在此要求下,部件放置应尽可能避免妨碍气流的流动。如果部件妨碍
了气流的流动,其它试板和部件则不能同时进行试验。
应当指出,试板涂层的破坏程度随放置的方位不同而不同,对此应给予适当的考虑。
7.3 试板的排列应不使其互相接触或与箱体接触。被试表面应曝露在盐雾无阻碍地沉降的地方。试板
放在箱内的同一水平面上,以避免液滴从上层的试板或支架上落到下面的其他试板上。
注s 是定期变换试板的位置。假如在检查周期时变换位置,则需在试验报告中说明换位方式。
7.4 试板的支架必须由玻璃、塑料或涂漆木材之类的惰性非金属材料制成。如果试板需要悬挂,则挂具
应用合成纤维、棉线或其他惰性绝缘材料制成。
8 操作条件
8.1 喷雾室内的温度应为35 土2"C 。
8.2 每一收集器(4. 1. 4) 中收集的溶液其氯化俐的浓度为50 士10 g/L(3. 1) , pH 值为6. 5~7. 2(3. 2) 。
在至少经24 h 周期后,开始计算每个收集器收集的溶液,每80 cm2 的面积,应为1~2 mL/h 。
8.3 己喷雾过的试验溶液不能再用。
8.4 如果本设备已经作过不同于本试验规定的试验,则在试验前必须充分清洗干净。
9 试验步骤
9.1 按第8 章规定的条件,进行调试。
9.2 按第7 章规定,将试板(或部件)排放在喷雾室内。
9.3 关闭啧雾室顶盖,开启试验溶液贮罐阀,使溶液流到贮槽,进行试验。在整个试验周期内,连续进行喷雾。
9.4 除了检查、重排或取出试板;检查及补充贮槽中的溶液;或按第8 章规定作必要的记录,方可停止喷雾。
9. 5 除另有规定,应进行两次平行测定。
10 试板的检查
试板应周期地进行目测检查,但不允许破坏试板表面。在任一个24 h 为周期的检查时间不应超过
60 min ,并且尽可能在每天的同一时间进行检查。试板不允许呈干燥状态。
在规定的试验周期结束时,从箱中取出试板,用清洁的水冲洗试板以除去表面上残留的试验溶液,
立即检查试板表面的破坏现象,如起泡、生锈、附着力的降低、由划痕处腐蚀的蔓延等。
如有要求,将试板放置在符合GB 9278 规定的标准环境中状态调节到规定时间,再检查试板表面
的破坏现象。
如果需要检查底材的破坏情况,则应按商定的方法除去涂层。
11 试验报告
试验报告至少包括下列内容z
a. 被试产品的型号和名称;
b. 注明采用本国家标准;
c. 试验持续时间;
d. 试板换位方式(7.3 注h
e. 试验结果;
   容积大于2 m3 喷雾室的设计和结构应考虑的因素
(补充件)
A1 喷嘴和档板的数量及位置应能保证喷雾均匀,收集量应符合8.2 规定的范围。
A2 收集器的数目应符合4. 1. 4 的要求,并能监控喷雾状况。
A3 加热、隔热及其他温度控制方式,均应使喷雾室内所有试板在各位置上的温度分布均匀。
A4 如喷雾室的尺寸不允许按4. 1 要求,使顶盖与水平面夹角大于25。角时,顶盖的设计(如辅助顶盖〉
   
 
 
顶盖的设计 
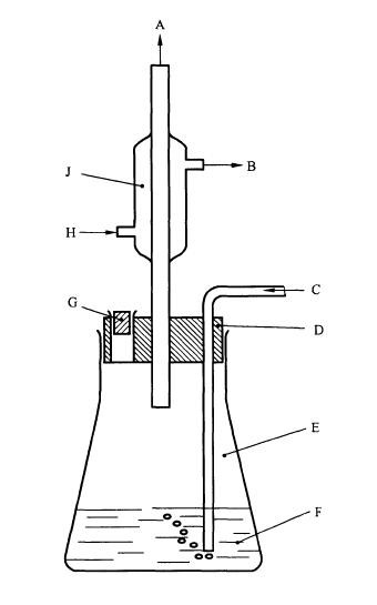
A——气体出口:          
B一一出水;
C一一二氧化碳入口;
D一一三孔橡皮塞;
E一-500 mL 广口锥型瓶;
F一一锡溶液;
G一一橡皮塞和玻璃管;
H一一进水;
J ——冷凝器:
 
                                    圄2 锡还原装置
3.5. 1 等厚撞层镀锡量(注2.5 g/ m2 ) 的测定
销售电话:贾经理 158-9969-7899
技术电话:阳先生 137-2828-6358
邮箱:zhenghang@vip.126.com
公司地址:广东省东莞市寮步镇石龙坑金园新路53号A栋
备案号:粤ICP备12059146号 粤公网安备 44190002001171号
Baidu
map