正航介绍——水平带式真空过滤机

正航介绍——水平带式真空过滤机
1 范围
本标准规定了带式真空过滤机的型式、基本参数、技术要求、试验方法与检验、标志、包装、运输和贮存等要求。
本标准适用于带式真空过滤机。
2 规范性引用文件
下列文件中的条款通过本标准的引用而成为本标准的条款。凡是注日期的引用文件,其随后所有的修改单(不包括勘误的内容〉或修订版均不适用于本标准,然而,鼓励根据本标准达成协议的各方研究是否可使用这些文件的版本。凡是不注日期的引用文件,其版本适用于本标准。
GB/T191 包装储运团示标志(GB厅191-2∞O. eqv ISO 780: 1997)
GB/T699 碳素结构钢
GB/T7∞碳素结构钢(GB厅7∞-1988. ßi吨DIN 630: 1987)
GB/T983 不锈钢焊条(GB厅983-1995. neqANSIIAWS A5.4: 1992)
GB/T985 气焊、手工电弧焊及气体保护焊焊缝坡口的基本形式与尺寸
GB/T1184-1996 形状和位置公差未注公差值(eqv ISO 2768-2: 1989)
GB/T21∞ 一般用途耐蚀钢铸件(GB厅21∞-2∞2. eqvISO 11972: 1998)
GB/T3077 合金结构钢(GB厅3077-1999. neqDINEN 1∞83-1: 1991)
GB/T3280 不锈钢冷轧钢板
GB/T4237 不锈钢热轧钢板(GB厅4237一1992. neq ns 04304: 1984)
GB/T778萨一1987 过滤机型号编制方法
GB/T10894 分离机械噪声测定方法(GB厅10894-2∞4. ISO 3744: 1994. NEQ)
GB/T11352 一般工程用铸造碳钢件(GB厅11352-1989. neqIS03755: 1975)
GB/T13306 标牌
GB/T13384 机电产品包装通用技术条件
GB/T14408 一般工程与结构用低合金铸钢件
GB/T14975 结构用不锈钢无缝钢管(GB厅14975-2∞2. ASTMA269: 2阴阳. NEQ)
GB/T4385.1 锤上自由锻件通用技术条件
B/T7217 分离机械涂装通用技术条件
m/T8102 带式压榨过滤机
m/T8947 固定室带式真空过滤机用橡胶滤带
3 术语和定义
下列术语和定义适用于本标准。
3.1真空童vacuumbox
形成真空的工作腔。
3.2驱动轮driving roller
JBlfS653-一.2006
传递动力的辑轮。
3.3托辑filter cloth roller
支撑滤带的辐子。
3.4张紧辑tensioning roller
用于张紧滤带的辐子。
3.5导向银guiding rolIer
用于改变滤带运行方向
3.6卸料辑discharge
用于卸料而设置的辑子
3.7过滤带filter belt
用于截留固相物而允
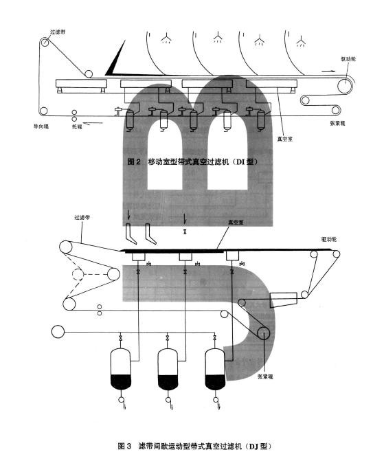
4 型式
4.1 结构型式
带式真空
a) 固定室型带式真空
b) 移动室型带式真空
c) 滤带间歇运动型带式真空过滤机(DJ 型);
d) 固定室型带式真空过滤机(履带式) (DL 型〉。
图1 、图2、图3 、图4 分别为四种类型的带式真空过滤机结构示意图。
图1 、图2、图3 、图4 分别为四种类型的带式真空过滤机结构示意图 
图1 、图2、图3 、图4 分别为四种类型的带式真空过滤机结构示意图 
销售电话:贾经理 158-9969-7899
技术电话:阳先生 137-2828-6358
邮箱:zhenghang@vip.126.com
公司地址:广东省东莞市寮步镇石龙坑金园新路53号A栋
备案号:粤ICP备12059146号 粤公网安备 44190002001171号
Baidu
map